Zoox pursues a patent on a method for determining the occupancy of occluded regions. This week’s newest patent applications from Zoox, Roche, Abbott, Medtronic, Boston Scientific, Merck, Mastercard, IBM, Microsoft, Intel, and Apple. Learn about the Zoox development method for determining the occupancy of occluded regions and how it can help you with your occupancy detection needs.

Zoox Pursues a Patent on a Method for Determining Occupancy Of Occluded Regions
U.S. patent application, US20210278853, discloses a method for controlling an autonomous vehicle by Zoox, based on occluded regions in an environment. The method includes determining, an occluded region, a portion of an environment that is occluded from a sensor; determining, based at least in part on receiving sensor data from the sensor over a period of time, a probability that at least a portion of the occluded region is free of an object, and controlling a vehicle based on the probability. The figure below illustrates a perspective view of an example occlusion grid.
Roche Seeks a Patent for a Blood Withdrawal System
U.S. patent application, US20210275067, relates to a blood withdrawal system with a base device configured to hold a lancet. The system includes a base device with an actuatable lancet ejection mechanism, a movable coupling element, and a coupling structure for coupling the lancet with an external component. The figure below displays the blood withdrawal system.
Abbott Aims to Patent a Method for Optimizing Analyte Sensor Calibration
U.S. patent application, US20210275065, discloses a method for optimizing glucose analyte sensor calibration. The method includes receiving a current blood glucose measurement, retrieving time information for an upcoming calibration event, determining temporal proximity between the current blood glucose measurement and the retrieved time information, and initiating a calibration routine when the temporal proximity is within a predetermined time period.
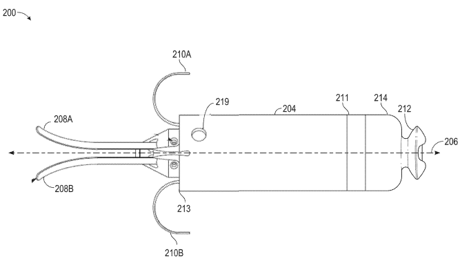
Medtronic Seeks to Patent a Multi-Electrode Implantable Device
U.S. patent application, US20210275824, relates to a multi-electrode implantable device. The device includes deep tines to deliver cardiac pacing to cardiac tissue distal to a chamber of the heart where the multi-electrode implantable device is implanted, and one or more shallow electrodes to deliver cardiac pacing to the chamber of the heart where the multi-electrode implantable device is implanted. The figure below represents the multi-electrode implantable device.
Boston Scientific Files a Patent for an Anastomotic Stent
U.S. patent application, US20210275177, discloses a stent for forming an anastomosis or a surgical connection between bodily tissues and organs specifically between portions of the gastrointestinal (GI) tract. The anastomotic stents atraumatically engage the tissue walls and permit the flow of fluid, partially digested food, and food. The figure below shows the deployed stent between the stomach and a portion of the intestines.
Merck Files a Patent for a Formulation of an Organic Functional Material
U.S. patent application, US20210277266, relates to a formulation comprising one organic functional material and three different organic solvents, which can be employed for the production of functional layers of electronic devices. These functional materials are generally organic materials, which are introduced between the anode and the cathode of an electronic device.
Mastercard Seeks to Patent a Method for Identifying a Fraudulent Common Point of Purchases
U.S. patent application, US20210272582, discloses a method for identifying a common point of purchases (CPP) involved in fraudulent or unauthorized payment transactions based on payment card lists and transaction data. A CPP computing device builds a merchant table, receives the transaction data and the card lists, retrieves unique merchant identifiers (IDs) associated with the merchant table account IDs that are matched with the flagged account IDs, and displays a report identifying a subset of the unique merchant IDs as compromised merchant locations based on certain computing metrics.
IBM Seeks to Patent a Method for Cross-Domain State Synchronization
U.S. patent application, US20210281578, describes a method for cross-domain state synchronization. The method includes receiving a gossip message from a domain anchor peer in a first security domain, verifying a block content within the gossip message, updating an endpoint of the gossip message with an address of a domain anchor peer in a second security domain, and transmitting the updated gossip message to the domain anchor peer in the second security domain. The figure below illustrates a multi-domain blockchain network for synchronizing a ledger state.
Microsoft Seeks a Patent for a Flexible Hinge Device
U.S. patent application, US20210278882, describes a device including a flexible hinge. The flexible hinge is customized for devices with a first and a second portion. The flexible hinge rotatably secures the first and second portions. The figure below illustrates the relieved flexible hinge securing the first and second portions of a flexible display.
Intel Aims to Patent a Method for Head Pose Determination
U.S. patent application, US20210279506, describes a method for estimating a head pose of a human subject. The method includes obtaining sensor data corresponding to a head and a portion of the human body and determining an estimate of a three-dimensional (3D) body pose. The method further includes generating a first rendering of the head using the obtained sensor data, generating head pose sample data sets using the estimated 3D body pose to generate second renderings, and selecting the first rendering that is closest to the second rendering. The figure below illustrates head pose estimation.
Learn about the patent filed by Intel for haptic gloves that would create occluded regions in virtual reality systems.
Apple Seeks a Patent for Wireless Earbuds with Proximity Sensors
U.S. patent application, US20210281941, discloses earbuds with proximity sensors in communication with an electronic device. The earbuds include a housing with a main body portion inserted into the ear of the user and an elongated stem portion extending from the main body portion. The proximity sensors are placed on the main body and on the stem to determine the current status of the earbuds and thereby take suitable action in controlling the operation of the electronic device. The figure below illustrates an earbud with a proximity sensor.










