This week’s newest patent applications from Dell, Novartis, Abbott, Medtronic, Roche, Boston Scientific, Merck, PayPal, IBM, Apple, Microsoft, and Intel.

Dell Pursues a Patent on a Self-Describing Cable
U.S. patent application, US20220201100, discloses a system including a controller, an endpoint device, and a self-describing cable. The cable is coupled between the controller and the endpoint device and comprises a communication wire for bidirectionally communicating signals between the controller, the endpoint device, and a circuit. The circuit has a microcontroller unit configured to communicate identifying information regarding the cable to the controller via the communication wire and without contention with the signals bidirectionally communicated between the controller and the endpoint device. The figure below illustrates the self-describing cable system.

Novartis Seeks a Patent for Anti-CD40 Antibodies
U.S. patent application, US20220195061, relates to intravenous or subcutaneous administration of a pharmaceutical composition containing anti-CD40 antibodies such as CFZ533 for the treatment of type 1 diabetes mellitus (T1DM) or insulitis.
Abbott Wants to Patent a Method for Updating a Medical Device
U.S. patent application, US20220197628, relates to upgrading, updating, adding, or modifying a medical device such as a continuous glucose monitoring device, and/or its components with updated software to assist patients with Type-1 or Type-2 diabetic conditions for better diabetes management. The figure below illustrates the health monitoring device with a touch-sensitive display.
Medtronic Eyes a Patent for an Apparatus for Monitoring Tissue Fluid Content for Use in an Implantable Cardiac Device
U.S. patent application, US20220193419, discloses a device for the diagnosis of worsening heart failure and treatment related to ailments. The device uses multiple physiological parameters to provide an early warning for worsening heart failure and derives an index of the likelihood of worsening heart failure based upon the parameters using a Bayesian approach and displays the resultant index. The figure below illustrates a display screen illustrating a trend graph of a patient’s heart failure risk scores.
Roche Seeks to Patent a Sensor Device
U.S. patent application, US20220196632, discloses a sensor device for an in vitro diagnostics (IVD) analyzer that comprises sensors arranged in fluidic conduits. The device includes two fluidic conduits for repeatedly receiving fluids, each fluidic conduit comprising a sensory element that is separated in the respective fluidic conduits according to compatibility or susceptibility to deterioration or operating temperature and then determining the chemical and physical characteristics of a fluid.
Boston Scientific Files a Patent for a Steerable Catheter Design with a Spine-Reinforced Molded Articulation Joint
U.S. patent application, US20220193367, relates to a steerable catheter having a tubular shaft with a proximal portion and a distal portion, a deflection region, an outer tubular jacket with an articulation member in the deflection region, and a plurality of first and second connecting segments. The figure below illustrates an electrophysiology catheter.
Merck Aims to Patent a Luminescent Film, an Organic Electroluminescent Element, and an Organic Material Composition
U.S. patent application, US20220199934, relates to a luminescent film, an organic electroluminescent element, and an organic material composition. The organic electroluminescent element has excellent luminous efficiency, chromaticity, and element lifetime. The composition includes a host compound, a blue phosphorescent compound, and a blue fluorescent compound in which an emission spectrum of the blue phosphorescent compound, and an absorption spectrum of the blue fluorescent compound have portions overlapping one another.
PayPal Eyes a Patent for Shared Mobile Payments
U.S. patent application, US20220198426, discloses a method for allowing a first user to use the first user’s mobile device to communicate through near field communication (NFC) with one or more second users to facilitate sharing of the purchase cost initiated by the first user at merchant’s payment/checkout page. In response to the communication, the second users are allowed to enter an amount of their desired contribution to the cost of the purchase on their respective second users’ devices to communicate the desired amount to the first user and/or make a payment in that amount.
Gain insights into how PayPal utilizes access control cookies to improve online transactions and security. Discover why this new technology represents a breakthrough in helping secure digital payments worldwide!
IBM Wants to Patent a Method for Managing Building Floor Plans Using Retractable Partitions
U.S. patent application, US20220198080, discloses a method for managing retractable privacy partitions to dynamically subdivide spaces in buildings into sub-spaces. The method includes receiving a floor plan requirements dataset, determining an updated floor plan for a portion of floor space of a building based on the floor plan requirements dataset, and extending or retracting retractable privacy partitions based on the updated floor plan. The figure below illustrates updating a floor plan based on floor plan requirements.
Apple Aims To Patent a Product Showcase System in a Retail Environment
U.S. patent application, US20220192394, discloses a display fixture for showcasing products in a retail environment. The display fixture includes a display surface, dynamic input blocks disposed along the display surface where each block displays content associated with a product, and a display screen positioned on the display surface next to the dynamic input blocks. The display screen displays content related to the product in response to user interaction with one of the dynamic input blocks. The figure below illustrates user interaction with one of the dynamic input blocks.
Microsoft Seeks to Patent a Method for Enhancing Digital Imagery with Artificial Colorization
U.S. patent application, US20220201239, describes a method for enhancing digital imagery. The method includes generating a histogram of intensity values for pixels within a linear, and intensity-based image. The method further includes applying local contrast enhancement to the image to generate a contrast-enhanced version of the image based on the histogram values, and applying artificial colorization to generate an artificially colorized version of the image. The figure below illustrates enhancing the digital imagery based on the histogram of intensity values.
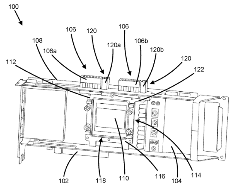
Intel Files a Patent for a Package Protector with an Integrated Guide Pin
U.S. patent application, US20220200177, describes a package protector having a body partially surrounded by an integrated circuit package of a circuit card, wherein the package protector is mounted to the circuit card and a guide pin component extends from a side of the said body, the guide pin component is located adjacent to a header of the circuit card and a connector uses the guide pin component to align with the header via the guide pin. The figure below illustrates a package protector and a circuit card arrangement.









