Coca-Cola aims to patent a user interface system for a product dispenser.
This week’s newest patent applications from Coca-Cola, Roche, Novartis, Merck, Abbott, Medtronic, Boston Scientific, Mastercard, Intel, Apple, IBM, and Microsoft.
Coca-Cola Aims to Patent a User Interface System for a Product Dispenser
U.S. patent application, US20210171331, discloses a product dispenser that includes a touch-to-pour user interface that is configured to provide a pattern of haptic feedback to a user while a touch is sensed on the touch-to-pour user interface. The haptic feedback pattern on the product dispenser is dependent upon the product being dispensed. The figure below illustrates a graphical user interface shown on the product dispenser.
Roche Files a Patent for a Method for Assisting the Provision of Point-of-Care Medical Treatment
U.S. patent application, US20210174943, relates to a method for tracking the availability of a point-of-care (POC) device for a user. The method includes providing a map to the user showing locations of nearby POC devices with availability for the type of test needed, allowing the users to book for a particular time slot, and communicating the booking to the selected POC device.
Novartis Eyes a Patent for Antibody Conjugates
U.S. patent application, US20210170043, discloses a method for treating cancer through the parenteral administration of immunoconjugates comprising an anti-DC-SIGN antibody conjugated to an agonist of Stimulator of Interferon Genes (STING) receptor via a linker.
Merck Files a Patent for a Switching Element Containing a Liquid-Crystalline Media
U.S. patent application, US20210171830, relates to a liquid-crystalline media comprising mesogenic compounds, chiral compounds, and polymerizable mesogenic compounds, where the amount of the polymerizable mesogenic compounds contained are based on the overall content of the media.
Abbott Wants to Patent a Method for Analyzing the Frequency of User Interaction with an Analyte Monitoring Device
U.S. patent application, US20210169384, discloses methods to analyze a user’s interaction with a blood glucose monitoring device. The method includes monitoring, comparing, and alerting the user when the user’s actual frequency of interaction with the device is equal to or below a predetermined target interaction level. The figure below illustrates a warning displayed (“Check Analyte Level”) to the user when the user’s frequency of interaction with a receiver unit falls below the target level.
Medtronic Eyes a Patent for a Vein Occlusion Assessment System
U.S. patent application, US20210169571, discloses a vein occlusion assessing system that includes an ablation catheter with a pair of temperature sensors that are longitudinally separated by an expandable element. The system determines the vessel occlusion based on the temperature difference between the first and the second temperature sensors when positioned near a target site. The figures below show the device achieving full and partial occlusion during the treatment.

Boston Scientific Files a Patent for a Medical Device for Determining Blood Flow Around a Body Lumen
U.S. patent application, US20210169352, discloses a medical device for determining blood flow around a body lumen which can be used as an indicator for identifying inflamed regions of the gastrointestinal tract. The device includes emitters disposed on an expandable member and a detector for measuring light intensity reflected from the tissue. The figure below shows the expandable member with optical sensors.
Mastercard Seeks to Patent a Method for Facilitating Scheduled Transactions
U.S. patent application, US20210174313, discloses a method for facilitating a scheduled payment transaction between a user and a merchant at future time intervals/instances. The method includes generating a first one-time password (OTP) for authenticating the user upon successfully receiving a transaction scheduling request from the user and generating a second OTP for authenticating the scheduled payment transaction upon successfully scheduling the payment transaction between the user and the merchant.
Intel Aims to Patent Physical Keyboards for Multi-Display Computing Devices
U.S. patent application, US20210173447, discloses a stowable physical keyboard for a multi-display computing device. The keyboard includes a plurality of keys and a translucent backplate having a first side and a second side. A coating between the first side of the backplate and the plurality of keys passes light to illuminate the plurality of keys and obscures the plurality of keys when viewed from the second side of the backplate. The figure below illustrates the multi-display computing device with the physical keyboard.
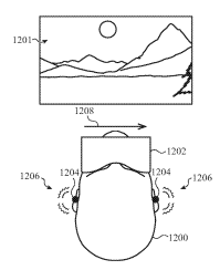
Apple Seeks to Patent a Haptic Output System to Direct the User’s Attention Towards a Virtual Object
U.S. patent application, US20210176548, discloses a method for producing a haptic output associated with a virtual-reality environment. The method includes detecting a notification associated with a graphical object or the presence of an audio source, determining whether a head-mounted haptic accessory is being worn by the user, and initiating the actuation pattern to produce a directional haptic output for directing the user’s attention along a direction. The figures below illustrate the user engaged in the virtual-reality environment.


IBM Files a Patent for a Method of Detecting Content Relevance Based on a Discourse Attachment Arrangement
U.S. patent application, US20210174188, discloses a method for arranging attached files as transferred during a discourse history in an ordered hierarchy. The method includes deriving a discourse attachment arrangement (DAA) component based on the discourse data associated with a history of discourse communications and outputting multiple versions of the discourse attachments arranged in a hierarchical order. The figure below illustrates an example of providing the hierarchically ordered arrangement of the discourse attachments including multiple file versions.
Microsoft Seeks a Patent for a Method for Updating Alarm Settings Based on a Meeting Invitation
U.S. patent application, US20210174943, describes a method for updating an alarm setting on behalf of a user in response to a meeting invitation being received outside of predefined business hours. A user device sounds an alarm signal at an updated time that alerts the user to participate in the requested meeting at the requested time. The figures below illustrate a graphical user interface (GUI) that enables the user to define alarm update criteria and another GUI that provides a notification of the updated alarm settings to the user.












