Apple möchte ein Patent für die Bestimmung des Standorts von Mobilgeräten in Fahrzeugen anmelden. Lesen Sie mehr über diese und andere kürzlich veröffentlichte Patentanmeldungen.

Hier finden Sie einige der jüngsten Patentanmeldungen von Intel, IBM, Microsoft, Apple, Medtronic, Boston Scientific, Roche und Abbott.
Intel meldet ein Patent für einen intelligenten Fahrzeugnavigator an
Die US-Patentanmeldung 20200166358 offenbart ein Verfahren zum Navigieren eines Fahrzeugs durch Empfangen von Fahrzeugbetriebsdaten, Bestimmen eines Betriebsstils des Fahrers, Empfangen eines Fahrzeugstandorts und eines Ziels und Bestimmen einer Route vom Fahrzeugstandort zum Ziel entsprechend dem Betriebsstil des Fahrers. Die Illustration zeigt ein Flussdiagramm des Fahrzeugnavigationssystems.

IBM will ein auf Körpersprache basierendes automatisches Antwortsystem patentieren lassen
Die US-Patentanmeldung 20200169525 offenbart ein Verfahren zur Darstellung des Inhalts einer elektronischen Nachricht an einen Empfänger durch Einfügen von Antwortindikatoren in der Nähe des entsprechenden Teils des Inhalts, basierend auf den Gefühlen der Empfänger gegenüber dem Inhalt. Das System ermittelt die Gefühle des Empfängers, indem es die Gesten des Empfängers erfasst. Die folgende Abbildung zeigt eine Ansicht der elektronischen Nachricht, die von einer Benutzerschnittstelle einer Nachrichtenanwendung des Empfängers dargestellt wird.

Microsoft beantragt ein Patent für ein Gerät mit adaptiver Batterieladung
Die US-Patentanmeldung 20200169102 offenbart ein Gerät, das seine Batterie adaptiv auflädt, indem es die Temperatur, das Alter und den Außendruck der Batterie überwacht, auf der Grundlage der Überwachung ein Ladeprofil für die Batterie auswählt und die Batterie entsprechend dem ausgewählten Ladeprofil auflädt. Die folgende Abbildung zeigt ein Gerät mit adaptiver Batterieladung.

Apple möchte ein Patent für die Bestimmung des Standorts von Mobilgeräten in einem Fahrzeug
Die US-Patentanmeldung 20200169855 offenbart ein Verfahren zur Bestimmung des Standorts mobiler Geräte in einem Fahrzeug auf der Grundlage der Wechselwirkungen zwischen den Signalgeneratoren und Sensoren des Fahrzeugs und den Signalgeneratoren und Sensoren des mobilen Geräts. Das nachstehende Diagramm zeigt ein Fahrzeug mit einem Gerätelokalisierungssystem, das Signalsensoren verwendet, um den Standort eines Geräts zu bestimmen.

Medtronic sucht nach Patenten für Systeme zur gezielten Auswahl von Behandlungsorten und Therapieprogrammen
In der US-Patentanmeldung 20200167922 wird ein Navigationssystem beschrieben, das ein anatomisches Bild eines Gewebebereichs speichert, um anhand des Bildes automatisch eine Zielbehandlungsstruktur zu lokalisieren. Die folgende Abbildung zeigt das System zur Identifizierung der Zielorte der Behandlung.

Eine weitere US-Patentanmeldung 20200164212 bezieht sich auf ein System zur Auswahl von Therapieprogrammen, das jedes Programm auf der Grundlage des zu erwartenden Gewebevolumens bewertet, das durch die Therapieabgabe gemäß dem Programm aktiviert werden soll. Auf der Grundlage der Bewertung wird eine elektrische Stimulationstherapie verabreicht. Die folgende Abbildung zeigt das Stimulationssystem, das die Therapie verabreicht.

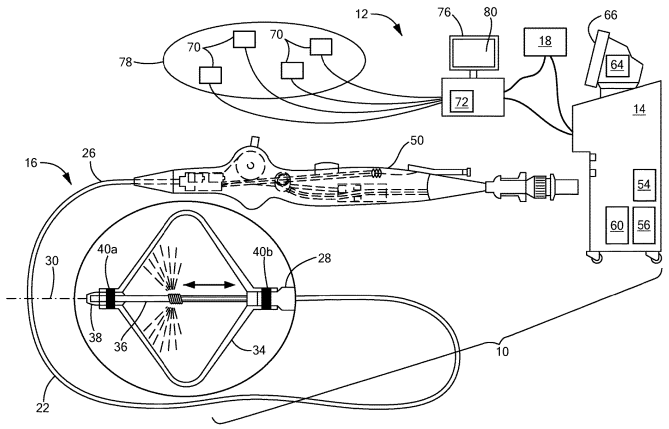
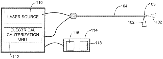
Boston Scientific strebt Patent für ein Kauterisationsgerät an
Die US-Patentanmeldung 20200163716 stellt eine Kauterisationsvorrichtung mit einem länglichen Körper vor, der ein distales Ende mit einer Öffnung hat, die die Abgabe von Laserenergie ermöglicht. Die Laserenergie wird von einer im distalen Ende befindlichen optischen Faser auf ein Gewebe gerichtet. Die Abbildung unten zeigt ein medizinisches Lasersystem mit elektrischer Kauterisation.

Roche will eine Methode zur Wiederverwendung von Enzymen im In-vitro-Glycoengineering patentieren lassen
Die US-Patentanmeldung 20200165321 offenbart ein Verfahren zur enzymatischen Herstellung eines Antikörpers mit einer modifizierten Glykosylierung in der Fc-Region. Das Verfahren umfasst die Schritte des Inkubierens eines Antikörpers, der eine Glykosylierung in der Fc-Region aufweist, mit Enzymen für eine Zeit, die ausreicht, um die Glykosylierung der Fc-Region in eine definierte Form zu modifizieren, des Trennens des Antikörpers mit einer modifizierten Glykosylierung in der Fc-Region von den Enzymen mittels Chromatographie und dadurch des Herstellens des Antikörpers mit einer modifizierten Glykosylierung in der Fc-Region und der recycelten Enzyme. Der Inkubationsschritt wird mit den zurückgewonnenen Enzymen mindestens einmal wiederholt.
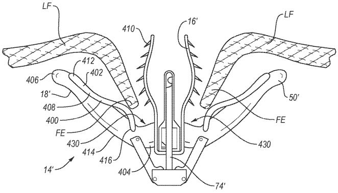
Abbott strebt Patent für eine Gewebegreifvorrichtung an
Die US-Patentanmeldung 20200163672 stellt eine Greifvorrichtung vor, die bei der Reparatur von Gewebe hilft, indem sie die Aufnahme von Gewebe in die Vorrichtung verbessert. Die Abbildung unten zeigt eine Ausführung der Fixiervorrichtung mit einer Blattfeder.

Lassen Sie uns wissen, was Sie in unserem nächsten Blog/Webinar sehen möchten. Nehmen Sie an der Leserumfrage teil


